32+ Breast Cancer Bone Metastases Symptoms US

32+ Breast Cancer Bone Metastases Symptoms US. The goals of treatment of bony metastases from breast cancer include improving quality of life, so reducing pain, reducing the spread of cancer. It's also known as stage 4 breast cancer.

Cancer Metastasis In The Bones All Symptoms Youtube
Cancer Metastasis In The Bones All Symptoms Youtube from i.ytimg.com
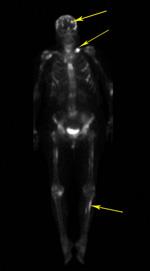
For example, the metastatic breast cancer project allows people with metastatic breast cancer to enroll themselves. Osteolytic metastases are more common than osteoblastic metastases. Bone metastasis can cause pain and broken bones.

With rare exceptions, cancer that has spread to the bones treatments can help reduce pain and other symptoms of bone metastases.

For example, the metastatic breast cancer project allows people with metastatic breast cancer to enroll themselves. When metastatic breast cancer spreads to the bones, it's called bone metastases. Bone is one of the most common places for breast cancer to spread. Bone metastases are not bone cancers.

Komentar